Block Diagram 8255

block diagram 8255
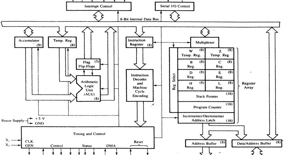
Explain with block diagram working of 8255 PPI. block diagram 8255
8255 Programmable Peripheral Interface block diagram 8255
Education for ALL: Introduction to 8255A PPI (Programmable ... block diagram 8255
ELECTRONICS ENGINEER: MICROPROCESSOR IC'S block diagram 8255
PPT - Peripheral Interface Device (8255 modes and examples ... block diagram 8255
8255: Programmable Peripheral Interface ~ 8051 ... block diagram 8255
Interfacing of 8255 IC By Er. Swapnil Kaware. block diagram 8255
Pin Diagram of 8255 Microprocessor | Block Diagram ... block diagram 8255
Interfacing 8255 block diagram 8255
FH-Karlsruhe: 'The Gameboy Project' block diagram 8255
PPT - Unit -III PowerPoint Presentation - ID:2027553 block diagram 8255
Block Diagram 8255 | Wiring Library block diagram 8255
8255 PPI block diagram 8255
PPT - 8255:Programmable Peripheral Interface PowerPoint ... block diagram 8255
Pin Diagram of 8255 Microprocessor | Block Diagram ... block diagram 8255
Pin Diagram of 8255 Microprocessor | Block Diagram ... block diagram 8255
Pin Diagram of 8255 Microprocessor | Block Diagram ... block diagram 8255
8085 paper-presentation block diagram 8255
Block Diagram 8255 | Wiring Library block diagram 8255
8085 INTERFACING WITH 8255 PDF block diagram 8255
Block Diagram 8255 | Wiring Library block diagram 8255
Block Diagram 8255 | Wiring Library block diagram 8255
File:Intel 8253 block diagram.svg - Wikimedia Commons block diagram 8255
1203 Ppi 8155 block diagram 8255
Programmable Peripheral Interface (PPI) IC 8255 ... block diagram 8255
CSE TUBE: CS2252 / CS42 / 10144 CS403 / 80250010 / EC1257 ... block diagram 8255
Schematic PERIPHERAL INTERFACE IN THE PROJECT OF PRESSURE ... block diagram 8255
8259 PIC Microprocessor - GeeksforGeeks block diagram 8255
8255 PROGRAMMABLE PERIPHERAL INTERFACE EBOOK DOWNLOAD block diagram 8255
Pin Diagram of 8255 Microprocessor | Block Diagram ... block diagram 8255
8255 BLOCK DIAGRAM & ARCHITECTURE - YouTube block diagram 8255
8251A programmable communication interface block diagram ... block diagram 8255
Block Diagram 8255 | Wiring Library block diagram 8255
D8255 - Programmable Peripheral Interface block diagram 8255
Overview of the 8253 functions block diagram 8255

Block Diagram 8255


Please create a FREE ACCOUNT to continue reading or download !

Start Your FREE Month!!