Block Diagram 8085

block diagram 8085
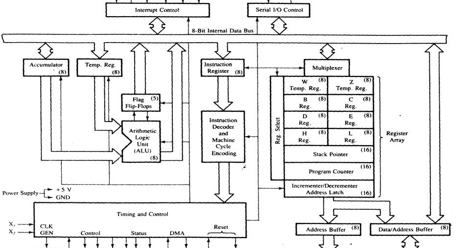
MY Computer Tutors: 8085 Microprocessor Architecture block diagram 8085
Microprocessor based Temperature Controller block diagram 8085
Intel 8085 Block & Pin Diagram block diagram 8085
80186 Microprocessors with Integrated Peripherals ... block diagram 8085
CSE TUBE: CS2252 / CS42 / 10144 CS403 / 80250010 / EC1257 ... block diagram 8085
PART -1 TRAFFIC LIGHT CONTROL USING 8085 block diagram 8085
8085 Microprocessor and its General Architecture - Student ... block diagram 8085
8237 dma controller block diagram 8085
8086 Pin Diagram | 2IT201-Microprocessor Architecture and ... block diagram 8085
Internal architecture of PIC16F877A microcontroller ... block diagram 8085
Features of 8259 Programmable Interrupt Controller ... block diagram 8085
Interfacing hex keypad to 8051. Circuit diagram and ... block diagram 8085
8085 Datasheet - 8-bit Microprocessor - DataSheetGo.com block diagram 8085
File:Itanium architecture.svg - Wikimedia Commons block diagram 8085
Automatic Night Lamp with Morning Alarm using 8085 ... block diagram 8085
4 Way Traffic Signal Designed By Using MPLab And Proteus ... block diagram 8085
Distance Measurement by Ultrasonic Sensor and AVR ... block diagram 8085
PIR SENSOR WITH ARDUINO ACTIVATE STEPPER MOTOR | Stepper ... block diagram 8085
Binary multiplier - Wikipedia block diagram 8085
Full Adder I Truth table | Logic diagram - EEEGUIDE.COM block diagram 8085

Block Diagram 8085


Please create a FREE ACCOUNT to continue reading or download !

Start Your FREE Month!!