Block Diagram With Disturbance

block diagram with disturbance
Control Tutorials for MATLAB and Simulink - Inverted ... block diagram with disturbance
The Feed Forward Controller – Control Guru block diagram with disturbance
Block diagrams 8 -- tutorial sheet on closed-loop transfer ... block diagram with disturbance
Petter Øgland's web block diagram with disturbance
Faglia di Rivera - Wikipedia block diagram with disturbance
Impulse Response (System Identification Toolkit) - LabVIEW ... block diagram with disturbance
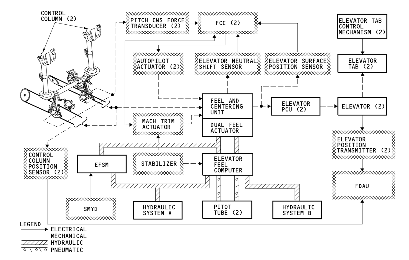
Satcom Guru: Stabilizer Trim block diagram with disturbance
Getting Started with Simulink, Part 2: Adding a Controller ... block diagram with disturbance
Chapter 1 block diagram with disturbance
Kids Health Info : Pierre Robin Sequence (PRS) block diagram with disturbance
Intro to Control - 10.2 Closed-Loop Transfer Function ... block diagram with disturbance
calcium homeostasis and viamin D block diagram with disturbance
Control Strategy – Remote Control Flight – The Beaglequad ... block diagram with disturbance
1932 Jalisco earthquakes - Wikipedia block diagram with disturbance
Shifting Equilibria: Le Châtelier’s Principle – Chemistry block diagram with disturbance
BMW M60 - Wikipedia block diagram with disturbance
Epilepsy block diagram with disturbance
How does an Auto regression Model work? - Quora block diagram with disturbance
[SOLVED] what are the advantages of differential ... block diagram with disturbance
Quasi-Peak Detector Measurements (Cris Schulze) - RF Cafe block diagram with disturbance

Block Diagram With Disturbance


Please create a FREE ACCOUNT to continue reading or download !

Start Your FREE Month!!