2007 Hyundai Entourage Fuel Filter Location

2007 hyundai entourage fuel filter location
DIY - 2007 Entourage Fuel Tank Air Filter - Hyundai Forum ... 2007 hyundai entourage fuel filter location
DIY - 2007 Entourage Fuel Tank Air Filter - Hyundai Forum ... 2007 hyundai entourage fuel filter location
DIY - 2007 Entourage Fuel Tank Air Filter - Hyundai Forum ... 2007 hyundai entourage fuel filter location
2006 2007 2008 Hyundai Entourage 3.8L OEM Fuel Filter Assy ... 2007 hyundai entourage fuel filter location
DIY - 2007 Entourage Fuel Tank Air Filter - Hyundai Forum ... 2007 hyundai entourage fuel filter location
2007 Hyundai Getz Fuel Filter Location | Wiring Library 2007 hyundai entourage fuel filter location
2007 Dodge Caliber Fuel Filter Location | Wiring Library 2007 hyundai entourage fuel filter location
How to change Hyundai Entourage cabin air filter 2007 hyundai entourage fuel filter location
DIY - 2007 Entourage Fuel Tank Air Filter - Hyundai Forum ... 2007 hyundai entourage fuel filter location
2007 Hyundai Getz Fuel Filter Location | Wiring Library 2007 hyundai entourage fuel filter location
DIY: How to oil change a Hyundai Entourage and Kia Sedona ... 2007 hyundai entourage fuel filter location
How to Change Fuel Filter - Hyundai Accent - YouTube 2007 hyundai entourage fuel filter location
Hyundai ix35 Fuel Filter Replace - YouTube 2007 hyundai entourage fuel filter location
How to Replace Engine Air Filter on 2012 Hyundai Tucson ... 2007 hyundai entourage fuel filter location
Fuel Filter Change 2012 CRDI Accent | Hyundai Forums 2007 hyundai entourage fuel filter location
'11 Accent Fuel Filter DIY (with pics) - Hyundai Forums ... 2007 hyundai entourage fuel filter location
Engine air filter change for the 2007 Hyundai Accent by ... 2007 hyundai entourage fuel filter location
2007 Hyundai Entourage Fuel Tanks & Components at CARiD.com 2007 hyundai entourage fuel filter location
2007 Hyundai Entourage Limited Pictures and Videos ... 2007 hyundai entourage fuel filter location
DIY Oil Change - Entourage / Sedona Forum 2007 hyundai entourage fuel filter location
Tuscon Oil Filter Location - Hyundai Forum - Hyundai ... 2007 hyundai entourage fuel filter location
DIY Oil Change - Entourage / Sedona Forum 2007 hyundai entourage fuel filter location
Where is the fuel filter located on a 2001 hyundai tiburon ... 2007 hyundai entourage fuel filter location
New OEM Fuel Gas Filter For 00-05 Hyundai Accent ... 2007 hyundai entourage fuel filter location
2005 Mitsubishi Endeavor fuel leak (March 5th 2014) - YouTube 2007 hyundai entourage fuel filter location
Fram CH9999 Oil Filter: 2007 Hyundai Entourage 3.8L; Extra ... 2007 hyundai entourage fuel filter location
DIY Fuel Filter Replacement instructions - Elantra 2007 ... 2007 hyundai entourage fuel filter location
WHERE IS THE FUEL FILTER LOCATED ON HYUNDAI ELANTRA - YouTube 2007 hyundai entourage fuel filter location
2009 Hyundai Sonata Fuel pump replacement - YouTube 2007 hyundai entourage fuel filter location
FRAM Cartridge Oil Filter change on Hyundai/Kia V6 - YouTube 2007 hyundai entourage fuel filter location
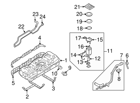
Entourage EMISSION SYSTEM/EMISSION COMPONENTS Parts ... 2007 hyundai entourage fuel filter location
Toyota Avensis 52 year fuel filter change. - YouTube 2007 hyundai entourage fuel filter location
How to change Hyundai Elantra cabin air filter 2007 hyundai entourage fuel filter location
Oil Cooler Leak & Knock Sensor Location - 2007 Hyundai ... 2007 hyundai entourage fuel filter location
I have a 2004 hyundai accent.iwant to change the fuel ... 2007 hyundai entourage fuel filter location

2007 Hyundai Entourage Fuel Filter Location


Please create a FREE ACCOUNT to continue reading or download !

Start Your FREE Month!!