Delco Remy Distributor Wiring Diagram

delco remy distributor wiring diagram
8201100 39MT New Starter | Product Details | Delco Remy delco remy distributor wiring diagram
HORIZONTAL DISTRIBUTOR CAP DELCO A B G D 50 60 70 1913739 ... delco remy distributor wiring diagram
Distributor: HEI Conversion - Classic Chevy Pit Stop Blog delco remy distributor wiring diagram
Index of /postpic/2009/09 delco remy distributor wiring diagram
Help the new girl?!? - JeepForum.com delco remy distributor wiring diagram
Upgrading a Points Distributor to an HEI System - Vette ... delco remy distributor wiring diagram
I have a 64 chevy chevelle that ive just restored with a ... delco remy distributor wiring diagram
Repair Guides delco remy distributor wiring diagram
/Ac delco marine mechanical fuel pump kit/ - /delco 32 ... delco remy distributor wiring diagram
116: 105E distributor | Small Ford Spares delco remy distributor wiring diagram
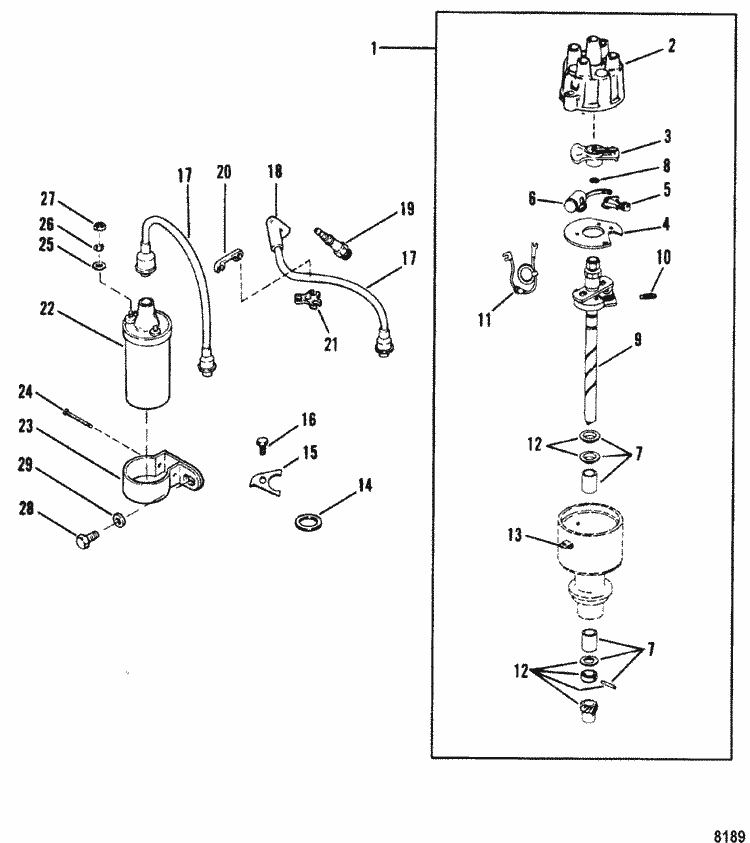
MerCruiser 3.0L GM 181 I / L4 1990-1994 Conventional ... delco remy distributor wiring diagram
Wiring Diagrams Of 1960 Plymouth 6 Valiant – Auto-Wiring ... delco remy distributor wiring diagram
HEI Distributor - Route 66 Hot Rod High delco remy distributor wiring diagram
Allumage à décharge capacitive — Wikipédia delco remy distributor wiring diagram
What is the firing order of a 1991 Ford Econoline 150 with ... delco remy distributor wiring diagram
1984 C4 Chevrolet Corvette: Specifications, VIN, & Options delco remy distributor wiring diagram
1978 dodge 360 will not idle in gear 5 # vacuum, 40 over ... delco remy distributor wiring diagram
Big Block Ford FE 390 427 428 Firing Order | GTSparkplugs delco remy distributor wiring diagram
1955 Lincoln Short Hood Welder | 1955 Short Hood After ... delco remy distributor wiring diagram
Michael Kurtzweil's 1977 MGB with Rover 4.0L V8 delco remy distributor wiring diagram

Delco Remy Distributor Wiring Diagram


Please create a FREE ACCOUNT to continue reading or download !

Start Your FREE Month!!