M19 Wiring Diagram

m19 wiring diagram
Wiring for M19 Diamond T Hercules engine - Transporters ... m19 wiring diagram
Gauge cluster pin out - MY350Z.COM - Nissan 350Z and 370Z ... m19 wiring diagram
M19 AND M24 PERISCOPE (NEW CONFIGURATION) WIRING DIAGRAM m19 wiring diagram
Wiring for M19 Diamond T Hercules engine - Transporters ... m19 wiring diagram
M19 – Hydraulic Diagrams – Z-Works m19 wiring diagram
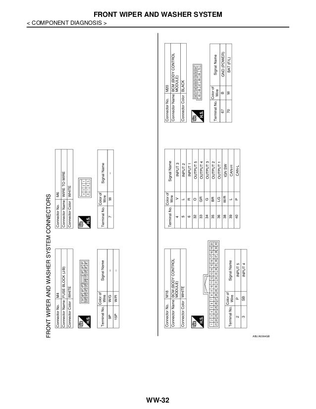
M19 Wiring Diagram - 43.grow.alexandra-brueckner.de wiring ... m19 wiring diagram
APPENDIX A. WIRING DIAGRAMS - TM-9-1240-216-340055 m19 wiring diagram
Stock oil pressure gauge - MY350Z.COM - Nissan 350Z and ... m19 wiring diagram
Definite Purpose Contactor Wiring Diagram | Free Wiring ... m19 wiring diagram
I need a wiring diagram for the passenger window switch ... m19 wiring diagram
Astra H Air Con Wiring Diagram | Online Wiring Diagram m19 wiring diagram
Electrolux Vacuum Wiring Diagram Download | Wiring Diagram ... m19 wiring diagram
Electrolux Vacuum Wiring Diagram Collection | Wiring ... m19 wiring diagram
wiring diagrams - KLR/KLX 600/650 - ThumperTalk m19 wiring diagram
Here's a wiring diagram for the MotoGadget M-unit and M ... m19 wiring diagram
Bremas Boat Lift Switch Wiring Diagram Sample m19 wiring diagram
Intermittent Windscreen Wipers - The 'E' Type Forum m19 wiring diagram
Hobby Engine Abrams converted to Heng Long M1A2 - RC Tank ... m19 wiring diagram
relay - Is a flyback diode needed if there are only ... m19 wiring diagram
Warn Winch M12000 Wiring Diagram m19 wiring diagram
Hdmi To Vga Wiring Diagram Webtor Me Throughout | Vga ... m19 wiring diagram
105mm Gun Tank M60 m19 wiring diagram
Blodgett Dfg 100 Wiring Diagram | Free Wiring Diagram m19 wiring diagram
ALLEN-BRADLEY Wyłącznik magnetyczny SensaGuard LL-60N m19 wiring diagram
Volkswagen Workshop Manuals > Golf Mk4 > Engine > 4cyl ... m19 wiring diagram
Electrolux Vacuum Wiring Diagram Download | Wiring Diagram ... m19 wiring diagram
M19 â Compact Ring Main Unit For Network Stations ... m19 wiring diagram
Eclaté - Univairsoft m19 wiring diagram
23 single phase – wiring diagram – control circuit | R&M ... m19 wiring diagram
Nissan Frontier 2007 Electrical Circuit Wiring Diagram ... m19 wiring diagram
Nissan Navara d22 2008 Electrical Circuit Wiring Diagram ... m19 wiring diagram
Electrolux Vacuum Wiring Diagram Download | Wiring Diagram ... m19 wiring diagram
2009 2010 toyota corolla electrical wiring diagrams m19 wiring diagram
HDMI to DVI cable scheme pinout diagram @ pinouts.ru m19 wiring diagram
HVAC system interlock wiring diagram in Hindi - YouTube m19 wiring diagram

M19 Wiring Diagram


Please create a FREE ACCOUNT to continue reading or download !

Start Your FREE Month!!