Geospring Water Heater Wiring Diagram

geospring water heater wiring diagram
How to replace a faulty cylinder Immersion | DIY Heating ... geospring water heater wiring diagram
Model Search | GEH50DEEDSRB geospring water heater wiring diagram
NetGreen Heat geospring water heater wiring diagram
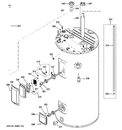
GE GEH50DEED TECHNICAL SERVICE MANUAL Pdf Download. geospring water heater wiring diagram
7 Bathtub Plumbing Installation Drain Diagrams geospring water heater wiring diagram

Geospring Water Heater Wiring Diagram


Please create a FREE ACCOUNT to continue reading or download !

Start Your FREE Month!!